0 VARER | 0 EUR I KASSEN
TIL KASSEN
0 FAVORITTER
SE FAVORITTER
Hjem
Formværktøj
Automation
Maskiner/Øvrig udrustning
Kontakt os
Kontakt os
Find os
Salg
Administration
Logistik
Jour
Selskabet
Om os
Vilkår og betingelser
Øvrig udrustning
Forhandlare
Forhandlare
Sverige
Danmark
Finland
Norge
Log ind
Formværktøj
MOULD BASES
P-MATERIAL
EJECTOR PINS
COMPONENTS
HYDRAULIC / COMPRESSED AIR
COOLING / TEMPERATURE
HOT-RUNNERS
ELECTRICAL COMPONENTS
Produkter
»
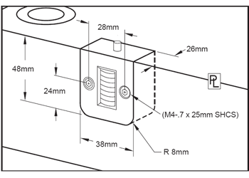
Skudtæller 48x38x26 Intern
Skudtæller 48x38x26 Intern
High temp Max 160 ° C
Materialer: PA6.6+GL
For indbyggelse
M/Inch
Art.nr: CCPL300
For priser, ansøge om en konto her!